工单管理软件哪个好?青鸟云报修系统让你轻松上手
在当今快节奏的工作环境中,工单管理软件已成为企业提升运营效率、优化资源配置的重要工具。无论是设备维修、IT支持,还是客户服务,工单管理软件都能帮助企业实现流程的标准化、数字化和智能化。那么,工单管理软件究竟包括哪些功能?哪款工单管理软件更好用?

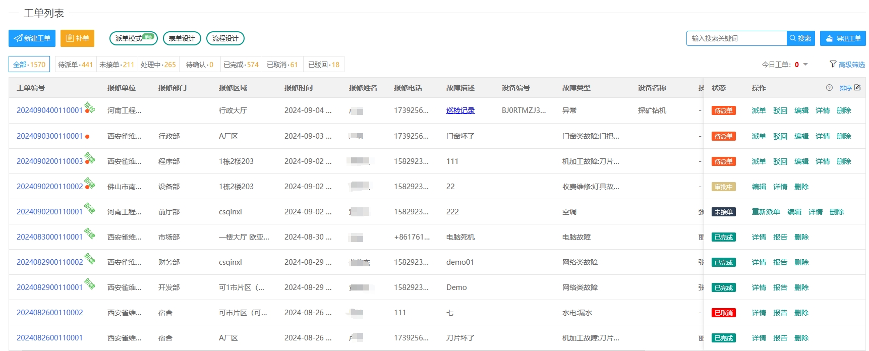
一、工单管理软件的核心功能有以下几个方面
工单创建与分配
工单管理软件需支持多种渠道(如微信、网页等)提交报修请求,工单管理软件自动生成工单并分配给相应的技术人员,减少人工干预,提高响应速度。
工单状态跟踪
工单管理人员需实时更新工单状态,从“待处理”到“已完成”,所有进度一目了然,方便管理人员和用户随时查看。
智能派单与优先级管理
工单管理软件需根据工单类型、紧急程度和技术人员的位置,智能分配任务,确保重要问题优先处理,提升服务效率。
数据分析与报表生成
工单管理软件能够自动统计工单处理时长、完成率、用户满意度等数据,生成可视化报表,为企业优化流程提供数据支持。
移动端支持
工单管理软件需支持手机、平板等移动设备,技术人员可随时随地接收工单、更新状态,实现高效协同。
客户反馈与评价
用户可在工单完成后通过工单管理软件对服务进行评价,帮助企业了解服务质量,持续改进。

二、工单管理软件哪个好?
工单管理软件哪个好?推荐工单管理软件-青鸟云报修系统
青鸟云报修是一款专为企业设计的工单管理软件,凭借其强大的功能和人性化的设计,已成为众多企业的首选。以下是它的核心优势:
操作简单,快速上手
青鸟云报修系统界面简洁,功能清晰,用户无需复杂培训即可快速上手,降低使用门槛。
多场景适用
无论是设备维修、IT支持,还是物业管理、客户服务,青鸟云报修工单管理软件都能满足不同场景的需求,灵活适配企业业务。
智能派单,高效协同
软件支持智能派单功能,根据技术人员的位置和技能自动分配任务,减少沟通成本,提升工作效率。
数据安全,稳定可靠
青鸟云报修工单管理软件采用云端存储,数据多重加密,确保信息安全,同时支持多设备同步,随时随地访问。
定制化服务,满足个性化需求
根据企业需求,青鸟云报修工单管理软件可提供定制化功能开发,确保软件与企业业务流程完美契合。
高性价比,投资回报显著
相比传统工单管理方式,青鸟云报修工单管理软件大幅降低人力成本和时间成本,帮助企业实现降本增效。

如果您正在寻找一款功能强大、操作简便的工单管理软件,青鸟云报修工单管理软件将是您的不二之选!无论是提升内部管理效率,还是优化客户服务体验,青鸟云报修工单管理软件都能为您提供全方位的支持。
现在注册,即可享受7天免费试用!立即体验青鸟云报修系统,让您的企业管理工作更高效、更智能!
相关新闻
- 一站式设备运维与售后报修平台——青鸟报修云,助力企业服务升级
- 青鸟报修云人员配置功能详解:三步告别派单错误,提升报修效率
- 青鸟报修云——企业智能报修管理系统 | 30秒扫码报修,全流···
- 巡检管理数字化方案:青鸟报修云支持设备巡检、区域巡检,自动排···
- 报修流程简化方案:青鸟云报修助力企业实现报修全流程数字化
- 智能巡检App与小程序对比:青鸟云报修提供灵活选型方案,免费···
- 智慧报修系统:7步闭环,免费试用7天
- 智能工单系统:7大核心能力构建企业服务管理闭环,免费试用7天
- 企业级智能工单系统 | 青鸟报修云 · 让服务更高效、更透明
- 售后维修管理系统核心功能解析:从智能派单到数据决策,助力管理···
