电梯巡查记录表:从纸质到数字化的必然转变
在现代建筑林立的都市中,电梯成为人们垂直出行不可或缺的工具。而电梯的安全与正常运行,依赖于定期且细致的巡查工作。然而,许多地方至今仍然在使用纸质的电梯巡查记录表,这种传统方式是否真的能满足现代电梯管理的需求呢?

传统的纸质电梯巡查记录表,在过去很长一段时间里确实发挥了一定的作用。但是,随着建筑规模的扩大、电梯数量的增多以及管理要求的提高,传统纸质电梯巡查记录表暴露出了诸多弊端。
从效率的维度来看,传统纸质电梯巡查记录表的填写过程繁琐
巡查人员需要在传统纸质电梯巡查记录表表格上一笔一划地记录电梯的各项参数、部件状态以及发现的问题等。
不仅耗费时间,而且在忙碌的巡查工作中容易出错。
一旦填写有误,修改起来也颇为麻烦,可能会影响整个记录的准确性和规范性。
当需要查询过往的纸质电梯巡查记录表时,工作人员往往要在一堆纸质文件中翻找,效率低下,尤其是对于拥有多台电梯的大型建筑来说,这简直是一场“档案灾难”。
从信息管理的角度出发,纸质电梯巡查记录表难以做到信息的及时共享
电梯的管理涉及到多个部门,如物业、维修团队、安全监管部门等。纸质电梯巡查记录表无法快速地在这些部门之间传递最新的巡查信息,容易导致信息孤岛的出现。
例如,维修团队可能不能及时得知电梯的最新故障隐患,从而无法提前准备维修工具和零部件,影响维修效率,也可能会增加电梯停摆的时间,给居民和使用者带来不便。
在数据分析方面,纸质电梯巡查记录表更是显得力不从心
由于数据分散在一张张纸质电梯巡查记录表上,想要对电梯的整体运行状况、故障频率、部件损耗趋势等进行深入分析几乎是不可能的。没有数据分析的支持,电梯管理部门就难以制定科学合理的维护计划,无法提前预判可能出现的问题,只能被动地应对故障。

那么,我们应该如何摆脱这些困境呢?
如今,数字化的电梯巡查管理方式为我们提供了新的解决方案。
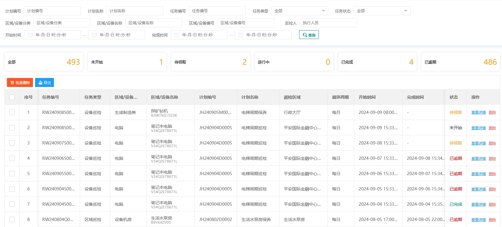
数字化的电梯巡查记录表具有便捷性
巡查人员可以使用数字化软件快速录入电梯设备的相关信息,并对每台电梯设备进行创建巡检计划,包括巡检周期、时间、内容等等。数字化软件提供了友好的用户界面,许多信息可以通过选择菜单、勾选选项等方式快速输入,大大提高了巡查效率。而且,数字化软件会自动记录电梯巡查记录表并形成电子记录,确保了记录的准确性及可追溯性。
数字化管理实现了信息的实时共享
通过数字化软件,巡查人员一旦完成电梯巡查记录表任务,其它相关部门(如物业、维修部门等)负责人就可以被自动同步到电梯巡查记录表的相关信息。同时,对于巡查中的异常信息,数字化软件能够支持自动报修,确保异常问题维修的及时和有效。安全监管部门也能随时查看电梯的运行数据,进行有效的监督。
数字化的电梯巡查记录表为数据分析提供了强大的支持
数字化软件可以自动对大量的电梯巡查记录表数据进行整理和分析,生成各种报表。通过这些报表,管理人员可以清晰地看到电梯的运行趋势、常见故障类型、各部件的使用寿命等重要信息。这有助于制定精准的维护计划,如提前更换易损部件,从而降低电梯故障的发生率,提高电梯的安全性和使用寿命。

在这个追求高效、安全和智能化的时代,继续依赖纸质电梯巡查记录表已经显得不合时宜。数字化的电梯巡查记录表管理方式是电梯安全运行和高效管理的必然选择,数字化的电梯巡查记录表将为我们带来更加便捷、透明、科学的电梯管理体验,保障每一位电梯使用者的安全和舒适。
相关新闻
- 一站式设备运维与售后报修平台——青鸟报修云,助力企业服务升级
- 青鸟报修云人员配置功能详解:三步告别派单错误,提升报修效率
- 青鸟报修云——企业智能报修管理系统 | 30秒扫码报修,全流···
- 巡检管理数字化方案:青鸟报修云支持设备巡检、区域巡检,自动排···
- 报修流程简化方案:青鸟云报修助力企业实现报修全流程数字化
- 智能巡检App与小程序对比:青鸟云报修提供灵活选型方案,免费···
- 智慧报修系统:7步闭环,免费试用7天
- 智能工单系统:7大核心能力构建企业服务管理闭环,免费试用7天
- 企业级智能工单系统 | 青鸟报修云 · 让服务更高效、更透明
- 售后维修管理系统核心功能解析:从智能派单到数据决策,助力管理···
